抗抑郁药“一哥”易主 top20洗牌(附名单)
2024-02-28 15:10:04 点击:
2023h1中国公立医疗机构终端抗抑郁药市场止跌回升,涨幅近8%,豪森首次登顶榜首,辉瑞跌出前三。
01、抗抑郁药“一哥”易主 top20洗牌
数据显示,抗抑郁药此前在中国城市公立、县级公立医院、城市社区中心及乡镇卫生院(简称中国公立医疗机构)终端销售额持续攀升,从2013年的超过41亿元增长至2019年的超过90亿元;随后受集采及疫情影响,市场进入调整期,2020年、2021年、2022年分别同比下滑2.35%、0.93%、5.35%;2023年上半年销售额超过45亿元,同比增长7.98%,市场止跌回升。
中国公立医疗机构终端抗抑郁药销售情况(单位:万元)
从厂家排名上看,江苏豪森药业集团、灵北、山东京卫制药、辉瑞、浙江华海药业依次位列前五。其中,江苏豪森药业集团首次登顶榜首,市场份额从2019年的不足2.96%上升至2023年上半年的8.49%;辉瑞自2013年至2021年均为抗抑郁药市场“销冠”厂家,受集采影响市场份额持续萎缩,2022年排名下滑至第三,2023年上半年跌出前三。
2023h1中国公立医疗机构终端抗抑郁药top5厂家

抗抑郁药产品top20中,草酸艾司西酞普兰片自2015年以来持续稳居榜首,以超过9亿元的销售额与第二名拉开差距;米氮平片、阿戈美拉汀片、盐酸舍曲林片分别位列第二、第三、第四,销售额均超过4亿元。
2023h1中国公立医疗机构终端抗抑郁药产品top20

9个产品销售额涨逾10%,盐酸米那普仑片狂飙11857.89%、盐酸米安色林片大涨26.01%、阿戈美拉汀片大涨24.36%。5个产品销售额出现负增长,具体为草酸艾司西酞普兰片、盐酸帕罗西汀片、盐酸文拉法辛缓释片、盐酸氟西汀分散片、盐酸文拉法辛胶囊,其中盐酸文拉法辛胶囊大跌18.41%。
抗抑郁牌top20中,15个品牌2023年上半年销售额超过1亿元,豪森药业的阿戈美拉汀片首次登顶榜首,山东京卫制药的草酸艾司西酞普兰片位列第二;2个品种草酸艾司西酞普兰片、米氮平片各有4家企业上榜;国产品牌有12个,进口品牌有8个,辉瑞、华海药业各有2个品牌上榜。
2023h1中国公立医疗机构终端抗抑郁药品牌top20

02、石药斩获首仿 复星、康弘、华海领跑过评榜
在过去的2023年,国内共有18家企业的抗抑郁药(涉及13个品种)获批生产,并视同通过一致性评价。其中,石药集团的琥珀酸去甲文拉法辛缓释片、安徽新世纪药业的盐酸氟西汀口服溶液为国内首仿;3个品种为国产第2家,包括四川科瑞德制药的盐酸米那普仑片、浙江国镜药业的草酸艾司西酞普兰口服溶液、江西施美药业的盐酸氟西汀分散片。
2023年获批上市的国产抗抑郁药

截至目前,抗抑郁药已有26个品种通过或视同通过一致性评价。其中,复星(含重庆药友、洞庭药业)以5个过评品种领跑,康弘药业、华海药业各有4个品种过评,科伦药业、石药集团、福元医药、上海医药等4家各有3个品种过评。
抗抑郁药过评情况

7个品种过评企业达5家及以上,草酸艾司西酞普兰片过评企业多达15家,作为抗抑郁药市场销售top1产品,2023年该药再有3家企业获得批文,市场竞争日趋激烈;此外,盐酸度洛西汀肠溶胶囊有12家企业过评,氢溴酸伏硫西汀片有9家企业过评,盐酸舍曲林片有8家企业过评……
7个品种为独家过评,包括莹硕生技的盐酸米那普仑胶囊、石药集团的琥珀酸去甲文拉法辛缓释片、科伦药业的氢溴酸西酞普兰胶囊、上海医药的盐酸度洛西汀肠溶片、丽珠集团的马来酸氟伏沙明片、安徽新世纪药业的盐酸氟西汀口服溶液、豪森药业的阿戈美拉汀片。
03、9款抗抑郁药已纳入集采 2大品种备战
在已落地执行的八批九轮化药集采中,抗抑郁药合计有9个通用名药品被纳入,其中7个为口服常释剂型,2个为缓释控释剂型。
抗抑郁药国家集采品种

除去已纳入国家集采的品种,目前抗抑郁药还有2个品种满足集采门槛,符合申报资格企业数达5家及以上,具体为伏硫西汀口服常释剂型、安非他酮缓释控释剂型。
伏硫西汀是一款多靶点作用机制的新型抗抑郁剂,同时具有5-ht转运体(sert)抑制作用、5-羟色胺(5-ht1a)受体激动作用以及5-ht3受体拮抗作用,尚未进入国家医保药品目录。数据显示,近年来伏硫西汀在中国公立医疗机构终端市场持续扩容,2021年突破1亿元,2022年、2023年上半年分别同比增长13.61%、6.46%。
中国公立医疗机构终端伏硫西汀销售情况(单位:万元)

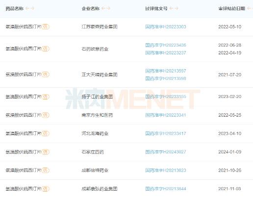
1月16日,石四药公告称,其以仿制4类报产的氢溴酸伏硫西汀片获批生产并视同过评。目前,氢溴酸伏硫西汀片已有9家企业过评,包括正大天晴、豪森药业、石药集团、倍特药业、扬子江药业、石四药等。该药原为第八批拟集采品种,后在正式目录中被剔除,会否纳入第十批集采值得关注。
伏硫西汀口服常释剂型过评企业

盐酸安非他酮缓释片适用于治疗中重度抑郁症以及季节性情感障碍。数据显示,2022年中国公立医疗机构终端安非他酮缓释控释剂型销售额超过7000万元,同比增长超27%。目前,安非他酮缓释控释剂型已有5家企业过评,包括人福医药、普洛药业、迪沙药业、宣泰医药、安必生制药。
- 上一篇:理解抑郁,有效应对抑郁症困扰 2024/2/28
- 下一篇:深圳千亿、上海百亿医疗器械产业规划来了 2024/2/28